BW-ZDJQ 电动保温球阀
电动保温球阀 产品概述
电动保温球阀是采用电动角行程执行机构与夹套保温球阀组成,具有良好的保温保冷特性,且电动保温球阀的通径与管径一致,同时又能有效降低管路中介质热量损失。采用一体化结构,电动执行机构内置伺服系统,无须另配伺服放大器,输入4-20mA控制信号或1-5VDC及220VAC电源即可控制运转。夹套保温电动球阀主要用于石油、化工、冶金、制药、食品等各类系统中,以输送常温下会凝固的高粘度介质。由于电动保温球阀采用整体式结构,因而夹套保温球阀比一般球阀体积更小,重量更轻,且无外漏,密封性能良好,夹套采用碳素钢管焊接比铸造的更加耐压牢固。
电动保温球阀 主要技术参数

阀体及内件
| 阀体形式 | 两段式铸造阀体(外焊接夹套保温) |
| 公称通径 | DN20~DN200 |
| 公称压力 | PN1.6、2.5、4.0 MPa;ANSI 150、300LB ;JIS 10、20、30K |
| 法兰标准 | GB、JB、HG、JIS、ANSI、DIN |
| 连接形式 | 法兰式 |
| 压盖型式 | 螺栓压紧式 |
| 适用温度 | -40~+450℃ |
| 球体形式 | "O"型球体 |
| 流量特性 | 近似快开特性 |
| 密封填料 | 柔性石墨填料等 |
执行机构
| 执行器型号 | DSR、3810R、DZW、HQ、PSQ |
| 主要技术参数 | 电源电压:220V/50Hz、380V/50Hz、输入信号:4-20mA或1-5V-DC、输出信号:4-20mA·DC |
| 防护等级:相当IP65(或IP67)、隔爆标志:ExdⅡBT4、手操功能:手柄 |
| 环境温度:-25~+70℃、环境湿度:≤95% |
电动保温球阀 主要性能指标
| 公称通径 DN(mm) | 15 | 20 | 25 | 32 | 40 | 50 | 65 | 80 | 100 | 125 | 150 | 200 | 250 | 300 |
| 额定流量系数KV | 21 | 38 | 72 | 112 | 170 | 273 | 384 | 512 | 940 | 1452 | 2222 | 3589 | 5128 | 7359 |
| 允许压差(MPa) | ≤ 公称压力 |
| 动作范围 | 0~90° |
| 泄露量Q | 按GB/T4213-92,小于额定KV0.01% |
| 基本误差 | ±1% |
| 回差 | ±1% |
| 死区 | ≤1%(可调) |
| 可调范围 | 250:1 | 350:1 |
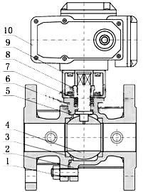
电动保温球阀 主要零件材料
| 1 | 左阀体 | 铸钢、不锈钢 |
| 2 | 右阀体 | 铸钢、不锈钢 |
| 3 | 阀座 | 不锈钢、硬质合金 |
| 4 | 球体 | 2Cr13+硬化处理、304、316 |
| 5 | 垫片 | 柔性石墨、聚四氟依稀 |
| 6 | 阀杆 | 2Cr13、304、316 |
| 7 | 填料 | 柔性石墨、聚四氟依稀 |
| 8 | 压盖 | 铸钢、不锈钢 |
| 9 | 支架 | 铸钢、不锈钢 |
| 10 | 执行器 | 根据实际配置而定 |
电动保温球阀 主要技术规范
| 设计标准 | ASME B 16.34 GB/T12224 |
| 结构长度 | ASME B 16.10 GB/T12221 |
| 连接法兰 | ASME B 16.5、JB/T 79 |
| 试验和检验 | JB/T9092 API 598 |
| 适用介质 | 重油、胶类等易凝固介质 |
电动保温球阀 主要性能规范
| 试验压力(MPa) | 公称压力(MPa) | 压力级(class) | JIS(K) |
| 1.6 | 2.5 | 4.0 | 6.4 | 10.0 | 150 | 300 | 600 | 10K | 20K |
| 强度试验 | 2.4 | 3.75 | 6.0 | 9.6 | 15.0 | 3.0 | 7.5 | 16.5 | 2.4 | 3.8 |
| 密封试验 | 1.76 | 2.75 | 4.4 | 7.04 | 11.0 | 2.2 | 5.5 | 12.1 | 1.5 | 2.8 |
| 气密试验 | 0.4~0.7MPa |