ZJHG 气动隔膜调节阀
一、气动隔膜调节阀 概述
精小型气动隔膜调节阀由隔膜阀和气动执行机构两部分组成,它以压缩空气为动力,实与对工艺管道中流体介质流量的调节。
由于在结构上采用带有耐腐蚀衬里的阀体和耐腐蚀的隔膜、无填料函结构、节流元件为弹性隔膜、阀体流道平滑,故气动隔膜调节阀具有阻力小、流量大、无外漏和方便可靠、防火防爆的优点,广泛适用于工业自动化系统中的强酸、强碱、强腐蚀、高粘度、含颗粒、带纤维以及有毒和不允许污染的介质的流量调节。
二、气动隔膜调节阀 结构特征

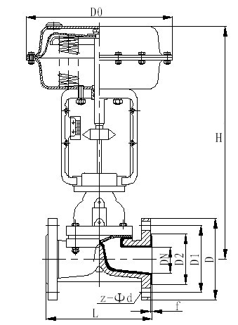
气动隔膜调节阀由气动薄膜执行机构与调节机构二部分组成,其结构与原理见图一。隔膜阀与被调介质直接接触,由于隔膜的运动,改变了与阀体截面间的流通面积,从而调节介质的流量。
三、气动隔膜调节阀 规格与技术参数
| 公称通径mm | 15 | 20 | 25 | 32 | 40 | 50 | 65 | 80 | 100 | 125 | 150 | 200 | 250 |
| 额定流量系数Kv | 8 | 12 | 16 | 28 | 60 | 68 | 90 | 160 | 300 | 410 | 618 | 1200 | 2150 |
| 公称压力MPa | 0.6、1.0、1.6、2.5 |
| 连接形式 | 法兰连接:PN1.0 按JB78标准 |
| 流量特性 | 近似快开特性 |
| 配用执行机构型号 | ZHA、ZHB |
| 有效面积FE | 280 | 400 | 600 | 1000 |
| 行程 mm | 8 | 10 | 16 | 25 | 40 | 60 |
| 作用方式 | 气关式;气开式 |
| 弹簧压力范围KPa | 标准20100、可选用40200、20600、60100 |
| 供气压力MPa | 标准0.14可选用0.24 |
| 气源接头 | M16×1.5 |
| 固有可调比R | 30:1 |
| 工作温度T(℃) | -30℃~+150℃ |
四、气动隔膜调节阀 主要性能指标
| 项 目 | 不带阀门定位器 | 带阀门定位器 |
| 基本误差% | ±10 | ±1 |
| 回 差% | ≤8 | ≤1 |
| 死 区% | ≤6 | ≤0.4 |
| 泄 漏 量 | 有衬里10×阀额定容量、无衬里5×10×阀额定容量 |
| 额定流量系数误差% | 10 |
五、气动隔膜调节阀 主要零部件材料表
| 序号 | 零件名称 | 灰铸铁 | 碳钢 | 不锈钢 | 超低碳不锈钢 |
| Z | C | P | R | PL | RL |
| 1 | 阀体、阀盖、阀瓣 | HT250 | WCB | CF8 | CF8M | CF3 | CF3M |
| 2 | 阀 杆 | 35 | 1Cr13 | 1Cr18Ni9 | 1Cr18Ni12Mo2Ti | 00Cr18Ni10 | 00Cr18Ni11Mo2 |
| 3 | 衬里层 | FEP(F46)、PFA(可溶性聚四氟乙烯)、PCTFE(F3)、PO(聚烯烃) |
| 4 | 隔 膜 | FEP(F46)、PFA(可溶性聚四氟乙烯)、CR(氯丁橡胶)、PO(聚烯烃) |
| 5 | 阀杆螺母 | 2CuAl10Fe3 |
| 6 | 螺 栓 | 35 | 35 | 1Cr17Ni2 | 1Cr17Ni2 | 1Cr18Ni9Ti | 1Cr18Ni9Ti |
| 7 | 螺 母 | 45 | 45 | 0Cr18Ni9 | 0Cr18Ni9 | 0Cr18Ni9 | 0Cr18Ni9 |