ZRSD 电动低温调节阀
一、电动低温调节阀产品概述
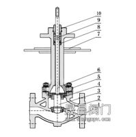
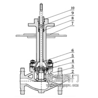
ZRSD 电动低温调节阀是由 3810 系列 (PSL 系列 ) 电动执行器与低温型调节阀阀体组成,内含伺服功能,接受统一的 4-20mA 或 1-5V·DC 的标准信号,将电流信号转变成相对应的直线位移,自动地控制调节阀开度,达到对管道内流体的压力、流量、温度、液位等工艺参数的连续调节。电动低温调节阀适合于低于 0 ~ -250℃ 状态下工作,由电动执行机构和带长颈接管的阀体组成,长颈接管的作用是使阀杆密封出接近常温下工作,并减少外界热能传入。为减少传递,长颈采用薄壁结构。
二、电动低温调节阀主要技术参数
阀体
| 阀体形式 | 直通铸造球型阀 |
| 公称通径 | DN25 ~ 300mm |
| 公称压力 | PN1.6 、 2.5 、 4.0 、 6.4 |
| 法兰标准 | GB/T9113 、 JB/T79 |
| 连接形式 | 法兰 (FF RF RTJ) 、焊接 (SW BW) |
| 阀盖形式 | 低温型 -10 ~ -196℃ 、超低温型 -196 ~ -250℃ |
| 压盖型式 | 螺栓压紧式 |
| 密封填料 | 金属石墨缠绕垫片、柔性石墨、碳纤维填料 |
阀内件
| 阀芯形式 | 单座、笼式、套筒型阀芯 |
| 流量特性 | 线性、等百分比 |
执行机构
| 执行器型号 | 3810L 系列、 PSL 系列 |
| 主要技术参数 | 电源电压: 220V/50Hz 、输入信号: 4-20mA 或 1-5V·DC 、输出信号: 4-20mA·DC |
| 防护等级:相当 IP55 、隔爆标志: ExdⅡBT4 、手操功能:手柄 |
| 环境温度: -25 ~ + 70℃ 、环境湿度: ≤95% |
三、内部结构图
 |  |  |
| 单座柱塞型阀芯 | 笼式阀芯 ( 导向型 ) | 套筒式 ( 压力平衡式 ) 阀芯 |
四、电动低温调节阀零件材料
| 1 | 阀体 | WCB | CF8 | CF 8M | CF 3M |
| 2 | 阀座、套筒 | 304 | 304 | 316 | 316L |
| 3 | 阀芯 | 304 | 304 | 316 | 316L |
| 4 | 导向套、并帽 | 304 | 304 | 316 | 316L |
| 5 | 阀盖 | WCB | CF8 | CF 8M | CF 3M |
| 6 | 阀杆 | 304 | 304 | 316 | 316L |
| 7 | 隔热板 | 304 | 304 | 316 | 316L |
| 8 | 填料 | 金属石墨缠绕垫片 / 柔性石墨 |
| 9 | 弹簧 | 65Mn | 304 | 316 | 316L |
| 10 | 螺母 | 304 | 304 | 316 | 316L |
五、主要性能指标
| 项目 | 指标值 |
| 基本误差 % | 配 3810L ±2.5 ; 配 PSL±1.0 |
| 回差 % | 配 381L ±2.0 ; 配 PSL±1.0 |
| 死区 % | 1.0 |
| 始终点偏差 % | 电开 | 始点 ±2.5 | 终点 ±2.5 |
| 始点 ±2.5 | 终点 ±2.5 |
| 电关 | 始点 | ±2.5 |
| 终点 | ±2.5 |
| 额定行程偏差 % | ≤2.5 |
| 泄露量 L/h | 0.01%× 阀额定容量 |
| 可调范围 R | 30 : 1 |
六、电动低温调节阀 额定流量系数 Kv 、允许压差
| 公称通径 DN(mm) | 25 | 32 | 40 | 50 | 65 | 80 | 100 | 125 | 150 | 200 | 250 | 300 |
| 阀座直径 dN(mm) | 25 | 32 | 40 | 50 | 65 | 80 | 100 | 125 | 150 | 200 | 250 | 300 |
| 额定流量系数 KV | 单座 | 11 | 17.6 | 27.5 | 44 | 69 | 110 | 176 | 275 | 440 | 630 | 1000 | 1600 |
| 笼式 | 9 | 15 | 23 | 35 | 59 | 95 | 148 | 236 | 355 | 568 | 885 | 1260 |
| 套筒 | 10 | 16 | 25 | 40 | 63 | 100 | 155 | 250 | 370 | 580 | 900 | 1300 |
| 额定行程 (mm) | 16 | 25 | 40 | 60 | 100 |
| 允许压差 (MPa) | 单座 | 3.2 | 3.0 | 2.0 | 1.8 | 1.5 | 1.4 | 1.0 | 0,7 | 0.6 | 0.5 | 0.3 | 0.28 |
| 笼式 | 5.8 | 5.0 | 4.9 | 4.3 | 3.0 | 3.7 | 3.5 | 3.1 | 2.8 | 2,8 | 2.4 | 2.0 |
| 套筒 | 6.4 | 5.2 | 5.2 | 4.6 | 4.6 | 3.7 | 3.7 | 3.5 | 3.1 | 3.1 | 2.6 | 2.2 |